工程机械与起重机BBS

 找回密码
 注册会员

扫描二维码登录本站

搜索
查看: 4728|回复: 11

迷你液压打拔机

[复制链接]
发表于 2013-7-5 10:53 | 显示全部楼层 |阅读模式
竞然7吨挖掘机都装振动锤。
1_1483_large.jpg
350137152_701618574.jpg
350137307_701618574.jpg
358126029_701618574.jpg
358126339_701618574.jpg
358126718_701618574.jpg
358127336_701618574.jpg
sy2.jpg
回复

使用道具 举报

 楼主| 发表于 2013-7-5 11:01 | 显示全部楼层
请问国内有无生产、制造厂和改装挖掘机变为迷你打桩机。
110409004280c7cc8f6859755d.jpg
1104090042f472d1522152cfd2.jpg
110409004288a358120752029f.jpg
11040900424bb30d9d4f77f1af.jpg
11040900420148806a95e2cd03.jpg
1104090042623006586bdfcb37.jpg
回复 支持 反对

使用道具 举报

发表于 2013-7-5 12:09 | 显示全部楼层
这挖机我看就能打这么大的桩
回复 支持 反对

使用道具 举报

发表于 2013-7-5 13:48 | 显示全部楼层
好东西!:victory::victory::victory:
回复 支持 反对

使用道具 举报

发表于 2013-7-5 19:42 | 显示全部楼层
{:3_57:}
回复 支持 反对

使用道具 举报

 楼主| 发表于 2013-7-12 00:45 | 显示全部楼层
我起香港未见过迷你打钢桩机。
回复 支持 反对

使用道具 举报

发表于 2013-7-12 01:27 | 显示全部楼层
好东西
回复 支持 反对

使用道具 举报

 楼主| 发表于 2013-7-15 01:15 | 显示全部楼层
zaxis290 发表于 2013-7-5 11:01 static/image/common/back.gif
请问国内有无生产、制造厂和改装挖掘机变为迷你打桩机。

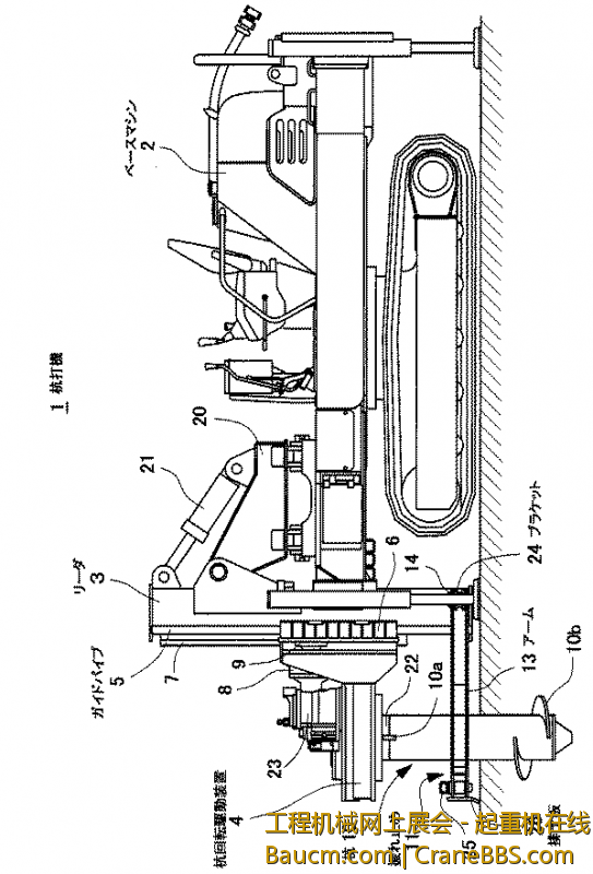
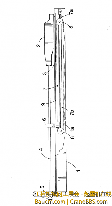
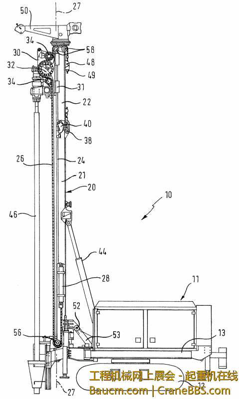
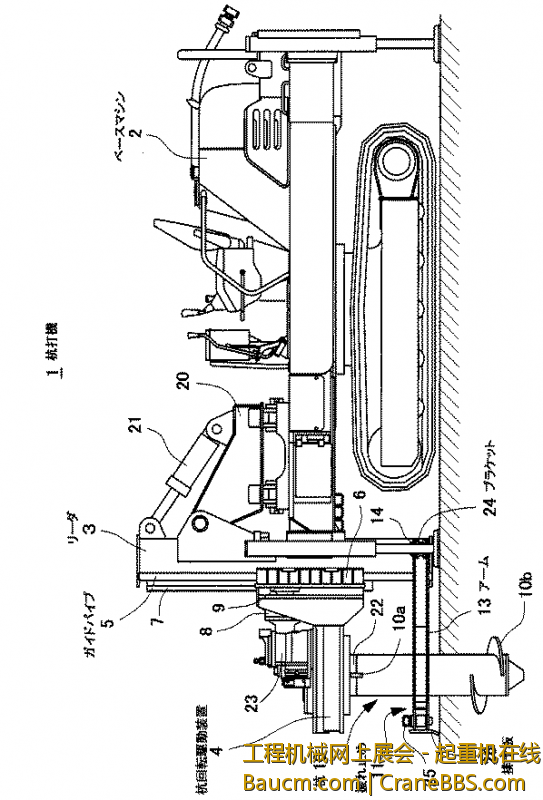
日系迷你打桩机。
000002.png
0000022.png
0000023.png
EX-60LCT.jpg
hanbai_2.jpg
kikaizennbu.JPG

S30

S30

S15

S15

S15

S15

S30

S30
回复 支持 反对

使用道具 举报

发表于 2013-7-27 17:31 | 显示全部楼层
国内有许多公司改装此产品的
回复 支持 反对

使用道具 举报

发表于 2014-7-27 18:53 | 显示全部楼层
:victory:
回复 支持 反对

使用道具 举报

发表于 2014-8-23 14:20 | 显示全部楼层
:victory::victory::victory::victory:
回复 支持 反对

使用道具 举报

发表于 2014-8-24 12:59 | 显示全部楼层
:victory:
回复 支持 反对

使用道具 举报

您需要登录后才可以回帖 登录 | 注册会员

本版积分规则

Archiver|手机版|工程机械与起重机BBS ( 沪ICP备2025134921号 )

GMT+8, 2026-4-26 02:38 , Processed in 1.165278 second(s), 22 queries .

Powered by Discuz! X3.4

© 2001-2023 Discuz! Team.

快速回复 返回顶部 返回列表